李工:138-8949-5179 刘工:135-0428-8802
型号查询
轴承型号   常见搜索: 6015轴承 6010轴承 6009轴承 6309轴承 6909轴承 688a轴承
型号查询 X

轴承专区

Bearings Center

MB 38轴承-SKF MB 38轴承尺寸、图纸、价格

SKF MB 38轴承

产品名称:MB 38轴承 品牌:SKF
类型:SKF轴承 > 滚动轴承 > 轴承附件
描述:MB 38轴承是【SKF轴承 > 滚动轴承 > 轴承附件】的型号,主要用在电气装置部件、空气压缩机、中型及大型电动机、大型农业机械、轧钢机辊道子、汽车转向销、船舶用螺旋桨轴、制鞋、土方机械、风力发电设备等各大领域

 电话/微信:138-8949-5179

SKF MB 38轴承详细信息

MB 38轴承是【SKF轴承 > 滚动轴承 > 轴承附件】的型号,主要用在电气装置部件、空气压缩机、中型及大型电动机、大型农业机械、轧钢机辊道子、汽车转向销、船舶用螺旋桨轴、制鞋、土方机械、风力发电设备等各大领域。

SKF MB 38轴承详细参数

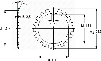
MB(L)锁定垫圈
尺寸体积型号
锁紧垫圈适宜的锁定螺母
dd2B
mmkg-
1902522,50,26MB 38KM 38

SKF MB 38轴承尺寸图纸

李工:138-8949-5179

刘工:135-0428-8802

地址:辽宁省大连经济技术开发区现代城3栋-13-13号

在线客服系统