李工:138-8949-5179 刘工:135-0428-8802
型号查询
轴承型号   常见搜索: 71913轴承 6014轴承 6909轴承 6010轴承 6026轴承 2025轴承
型号查询 X

轴承专区

Bearings Center

RN-2.5x19.8 BF/G2轴承-SKF RN-2.5x19.8 BF/G2轴承尺寸、图纸、价格

SKF RN-2.5x19.8 BF/G2轴承

产品名称:RN-2.5x19.8 BF/G2轴承 品牌:SKF
类型:SKF轴承 > 滚动轴承 > 滚针轴承
描述:RN-2.5x19.8 BF/G2轴承是【SKF轴承 > 滚动轴承 > 滚针轴承】的型号,主要用在燃汽轮机、各类变速器、木工机械、铁路车辆、轧钢机齿轮箱座、机床等的变速装置、电机厂、钟表、压路机、抓钢机等各大领域

 电话/微信:138-8949-5179

SKF RN-2.5x19.8 BF/G2轴承详细信息

RN-2.5x19.8 BF/G2轴承是【SKF轴承 > 滚动轴承 > 滚针轴承】的型号,主要用在燃汽轮机、各类变速器、木工机械、铁路车辆、轧钢机齿轮箱座、机床等的变速装置、电机厂、钟表、压路机、抓钢机等各大领域。

SKF RN-2.5x19.8 BF/G2轴承详细参数

滚针轴承, 滚针
尺寸体积型号
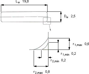
DwLwr1,2r1r2每1000
最小最大最大
mmkg
2,519,80,20,60,80,76RN-2.5x19.8 BF/G2

SKF RN-2.5x19.8 BF/G2轴承尺寸图纸

李工:138-8949-5179

刘工:135-0428-8802

地址:辽宁省大连经济技术开发区现代城3栋-13-13号

在线客服系统