轴承专区
Bearings Center
MBL 40轴承-SKF MBL 40轴承尺寸、图纸、价格
SKF MBL 40轴承
| 产品名称: | MBL 40轴承 | 品牌: | SKF |
|---|---|---|---|
| 类型: | SKF轴承 > 滚动轴承 > 轴承附件 | ||
| 描述: | MBL 40轴承是【SKF轴承 > 滚动轴承 > 轴承附件】的型号,主要用在通用电动机、各类变速器、发电机、铁路车辆、破碎机、机床主轴、轧钢机轧制螺杆用减速机、烟草机械、挖掘机、太阳能发电设备等各大领域 | ||
电话/微信:138-8949-5179
SKF MBL 40轴承详细信息
MBL 40轴承是【SKF轴承 > 滚动轴承 > 轴承附件】的型号,主要用在通用电动机、各类变速器、发电机、铁路车辆、破碎机、机床主轴、轧钢机轧制螺杆用减速机、烟草机械、挖掘机、太阳能发电设备等各大领域。
SKF MBL 40轴承详细参数
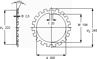
| MB(L)锁定垫圈 | ||||||
| 尺寸 | 体积 | 型号 | ||||
| 锁紧垫圈 | 适宜的锁定螺母 | |||||
| d | d2 | B | ||||
| mm | kg | - | ||||
| 200 | 245 | 2,5 | 0,22 | MBL 40 | KML 40 | |
SKF MBL 40轴承尺寸图纸

