李工:138-8949-5179 刘工:135-0428-8802
型号查询
轴承型号   常见搜索: 6205轴承 6900轴承 6024轴承 6017轴承 6018轴承 6001轴承
型号查询 X

轴承专区

Bearings Center

MKUE-25-ZR轴承-INA MKUE-25-ZR轴承尺寸、图纸、价格

INA MKUE-25-ZR轴承

产品名称:MKUE-25-ZR轴承 品牌:INA
类型:INA轴承 > 直线执行器
描述: MKUE-25-ZR轴承是【INA轴承 > 直线执行器】的型号,主要用在电气装置部件、燃料喷射泵、变速器、齿轮减速装置、造纸机械、石油钻机、船舶用螺旋桨轴、医药设备、给料机械、伽玛等各大领域

 电话/微信:138-8949-5179

INA MKUE-25-ZR轴承详细信息

MKUE-25-ZR轴承是【INA轴承 > 直线执行器】的型号,主要用在电气装置部件、燃料喷射泵、变速器、齿轮减速装置、造纸机械、石油钻机、船舶用螺旋桨轴、医药设备、给料机械、伽玛等各大领域。

INA MKUE-25-ZR轴承详细参数

参数备注
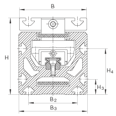
H125 mm
B110 mm
L250 mm
滑块有两个定位槽
B280 mm
B3112 mm
D115 mm
D195 mm公差:G7
D276 mm
H158 mm公差: +/-0,5
H2115,7 mm
H325 mm
H475 mm
L1263 mm
L3117,5 mm
OM8
T4 mm公差: +0,5
mLaw3,8 kg滑块的质量
mtot(Ltot - 230) x 0,0169 + 12 kg质量
L2 = 总行程 + L1 + 12L tot = 总行程 + L1 + L2 + 231总行程= 有效行程 + 2 x SS指适合于特殊应用的安全范围,应该至少为85 mm;总行程单位为mm。最大单根支承轨长度 L2 = 8,000 mm
C26300 N直线循环球轴承及导轨组件的基本额定载荷注意:此数值只适用于 Lh 寿命的计算。
C041800 N直线循环球轴承及导轨组件的基本额定载荷注意:此数值只适用于 Lh 寿命的计算。
M0x500 Nm直线导轨系统的许用静扭矩这些数值是单一载荷,当执行器的下部完全被支承时使用。当承受联;合载荷时,这些值必须减小。关于导轨系统的设计标准,见PF1样本。
M0y1600 Nm直线导轨系统的许用静扭矩这些数值是单一载荷,当执行器的下部完全被支承时使用。当承受联;合载荷时,这些值必须减小。关于导轨系统的设计标准,见PF1样本。
M0z1500 Nm直线导轨系统的许用静扭矩这些数值是单一载荷,当执行器的下部完全被支承时使用。当承受联;合载荷时,这些值必须减小。关于导轨系统的设计标准,见PF1样本。
ly712 cm^4惯性矩
lz506 cm^4惯性矩
50 AT 10齿形带
1880 N齿形带的许用工作载荷
75 Nm最大驱动力矩
0,315 kg/m齿形带的质量
250 mm/Umdr进给量(mm/转)
14,7 x 10^-4 kg x m^2两个齿轮的质量惯性矩

INA MKUE-25-ZR轴承尺寸图纸

李工:138-8949-5179

刘工:135-0428-8802

地址:辽宁省大连经济技术开发区现代城3栋-13-13号

在线客服系统