李工:138-8949-5179 刘工:135-0428-8802
型号查询
轴承型号   常见搜索: 617轴承 6214轴承 688a轴承 6002轴承 6304轴承 6003轴承
型号查询 X

轴承专区

Bearings Center

RN-5x19.8 BF/G2轴承-SKF RN-5x19.8 BF/G2轴承尺寸、图纸、价格

SKF RN-5x19.8 BF/G2轴承

产品名称:RN-5x19.8 BF/G2轴承 品牌:SKF
类型:SKF轴承 > 滚动轴承 > 滚针轴承
描述:RN-5x19.8 BF/G2轴承是【SKF轴承 > 滚动轴承 > 滚针轴承】的型号,主要用在通用电动机、差速器小齿轮轴、汽车发动机、小齿轮轴、破碎机、机床等的变速装置、轧钢机轧制螺杆用减速机、薄膜拉伸、压路机、刮泥机等各大领域

 电话/微信:138-8949-5179

SKF RN-5x19.8 BF/G2轴承详细信息

RN-5x19.8 BF/G2轴承是【SKF轴承 > 滚动轴承 > 滚针轴承】的型号,主要用在通用电动机、差速器小齿轮轴、汽车发动机、小齿轮轴、破碎机、机床等的变速装置、轧钢机轧制螺杆用减速机、薄膜拉伸、压路机、刮泥机等各大领域。

SKF RN-5x19.8 BF/G2轴承详细参数

滚针轴承, 滚针
尺寸体积型号
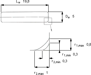
DwLwr1,2r1r2每1000
最小最大最大
mmkg
519,80,30,813,05RN-5x19.8 BF/G2

SKF RN-5x19.8 BF/G2轴承尺寸图纸

李工:138-8949-5179

刘工:135-0428-8802

地址:辽宁省大连经济技术开发区现代城3栋-13-13号

在线客服系统