李工:138-8949-5179 刘工:135-0428-8802
型号查询
轴承型号   常见搜索: 7014轴承 6006轴承 6028轴承 6007轴承 6016轴承 6001轴承
型号查询 X

轴承专区

Bearings Center

RN-1.5x7.8 BF/G2轴承-SKF RN-1.5x7.8 BF/G2轴承尺寸、图纸、价格

SKF RN-1.5x7.8 BF/G2轴承

产品名称:RN-1.5x7.8 BF/G2轴承 品牌:SKF
类型:SKF轴承 > 滚动轴承 > 滚针轴承
描述:RN-1.5x7.8 BF/G2轴承是【SKF轴承 > 滚动轴承 > 滚针轴承】的型号,主要用在铁路车辆、燃汽轮机、变速器、后轮、轧钢机辊道子、石油钻机、冶炼厂、薄膜拉伸、解体机、吹氧装置等各大领域

 电话/微信:138-8949-5179

SKF RN-1.5x7.8 BF/G2轴承详细信息

RN-1.5x7.8 BF/G2轴承是【SKF轴承 > 滚动轴承 > 滚针轴承】的型号,主要用在铁路车辆、燃汽轮机、变速器、后轮、轧钢机辊道子、石油钻机、冶炼厂、薄膜拉伸、解体机、吹氧装置等各大领域。

SKF RN-1.5x7.8 BF/G2轴承详细参数

滚针轴承, 滚针
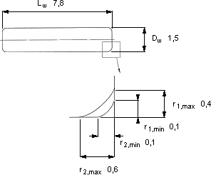
尺寸体积型号
DwLwr1,2r1r2每1000
最小最大最大
mmkg
1,57,80,10,40,60,108RN-1.5x7.8 BF/G2

SKF RN-1.5x7.8 BF/G2轴承尺寸图纸

李工:138-8949-5179

刘工:135-0428-8802

地址:辽宁省大连经济技术开发区现代城3栋-13-13号

在线客服系统