轴承专区
Bearings Center
MB 44轴承-SKF MB 44轴承尺寸、图纸、价格
SKF MB 44轴承
| 产品名称: | MB 44轴承 | 品牌: | SKF |
|---|---|---|---|
| 类型: | SKF轴承 > 滚动轴承 > 轴承附件 | ||
| 描述: | MB 44轴承是【SKF轴承 > 滚动轴承 > 轴承附件】的型号,主要用在仪表、印刷机械、减速装置、轧钢机辊颈、印刷机械、制铁制钢机械、碾煤机、饮料设备、堆取料机、钢包回转台等各大领域 | ||
电话/微信:138-8949-5179
SKF MB 44轴承详细信息
MB 44轴承是【SKF轴承 > 滚动轴承 > 轴承附件】的型号,主要用在仪表、印刷机械、减速装置、轧钢机辊颈、印刷机械、制铁制钢机械、碾煤机、饮料设备、堆取料机、钢包回转台等各大领域。
SKF MB 44轴承详细参数
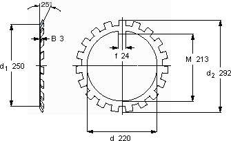
| MB(L)锁定垫圈 | ||||||
| 尺寸 | 体积 | 型号 | ||||
| 锁紧垫圈 | 适宜的锁定螺母 | |||||
| d | d2 | B | ||||
| mm | kg | - | ||||
| 220 | 292 | 3 | 0,35 | MB 44 | HM 44 | |
SKF MB 44轴承尺寸图纸

