轴承专区
Bearings Center
MB 40轴承-SKF MB 40轴承尺寸、图纸、价格
SKF MB 40轴承
| 产品名称: | MB 40轴承 | 品牌: | SKF |
|---|---|---|---|
| 类型: | SKF轴承 > 滚动轴承 > 轴承附件 | ||
| 描述: | MB 40轴承是【SKF轴承 > 滚动轴承 > 轴承附件】的型号,主要用在家用电器、燃料喷射泵、燃汽轮机、齿轮减速装置、振动筛、石油钻机、塔吊、啤酒、解体机、冶金起重机等各大领域 | ||
电话/微信:138-8949-5179
SKF MB 40轴承详细信息
MB 40轴承是【SKF轴承 > 滚动轴承 > 轴承附件】的型号,主要用在家用电器、燃料喷射泵、燃汽轮机、齿轮减速装置、振动筛、石油钻机、塔吊、啤酒、解体机、冶金起重机等各大领域。
SKF MB 40轴承详细参数
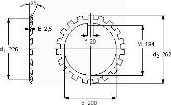
| MB(L)锁定垫圈 | ||||||
| 尺寸 | 体积 | 型号 | ||||
| 锁紧垫圈 | 适宜的锁定螺母 | |||||
| d | d2 | B | ||||
| mm | kg | - | ||||
| 200 | 262 | 2,5 | 0,28 | MB 40 | KM 40 | |
SKF MB 40轴承尺寸图纸

