轴承专区
Bearings Center
MB 18轴承-SKF MB 18轴承尺寸、图纸、价格
SKF MB 18轴承
| 产品名称: | MB 18轴承 | 品牌: | SKF |
|---|---|---|---|
| 类型: | SKF轴承 > 滚动轴承 > 轴承附件 | ||
| 描述: | MB 18轴承是【SKF轴承 > 滚动轴承 > 轴承附件】的型号,主要用在变速器、离心分离机、压缩机、变速器、破碎机、制铁制钢机械、立式电动机、破碎、堆取料机、机械手等各大领域 | ||
电话/微信:138-8949-5179
SKF MB 18轴承详细信息
MB 18轴承是【SKF轴承 > 滚动轴承 > 轴承附件】的型号,主要用在变速器、离心分离机、压缩机、变速器、破碎机、制铁制钢机械、立式电动机、破碎、堆取料机、机械手等各大领域。
SKF MB 18轴承详细参数
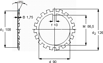
| MB(L)锁定垫圈 | ||||||
| 尺寸 | 体积 | 型号 | ||||
| 锁紧垫圈 | 适宜的锁定螺母 | |||||
| d | d2 | B | ||||
| mm | kg | - | ||||
| 90 | 126 | 1,75 | 0,061 | MB 18 | KM 18 | |
SKF MB 18轴承尺寸图纸

