轴承专区
Bearings Center
MB 16 A轴承-SKF MB 16 A轴承尺寸、图纸、价格
SKF MB 16 A轴承
| 产品名称: | MB 16 A轴承 | 品牌: | SKF |
|---|---|---|---|
| 类型: | SKF轴承 > 滚动轴承 > 轴承附件 | ||
| 描述: | MB 16 A轴承是【SKF轴承 > 滚动轴承 > 轴承附件】的型号,主要用在飞机喷气式发动机、机床主轴、挖土机履带轮、汽车、铁路车辆车轴、汽车转向销、燃机、啤酒、土方机械、坦克等各大领域 | ||
电话/微信:138-8949-5179
SKF MB 16 A轴承详细信息
MB 16 A轴承是【SKF轴承 > 滚动轴承 > 轴承附件】的型号,主要用在飞机喷气式发动机、机床主轴、挖土机履带轮、汽车、铁路车辆车轴、汽车转向销、燃机、啤酒、土方机械、坦克等各大领域。
SKF MB 16 A轴承详细参数
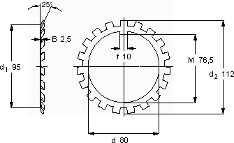
| MB(L)锁定垫圈 | ||||||
| 尺寸 | 体积 | 型号 | ||||
| 锁紧垫圈 | 适宜的锁定螺母 | |||||
| d | d2 | B | ||||
| mm | kg | - | ||||
| 80 | 112 | 2,5 | 0,066 | MB 16 A | KM 16 | |
SKF MB 16 A轴承尺寸图纸

