李工:138-8949-5179 刘工:135-0428-8802
型号查询
轴承型号   常见搜索: 6009轴承 6030轴承 6013轴承 6305轴承 32313轴承 6304轴承
型号查询 X

轴承专区

Bearings Center

6205/HR11QN轴承-SKF 6205/HR11QN轴承尺寸、图纸、价格

SKF 6205/HR11QN轴承

产品名称:6205/HR11QN轴承 品牌:SKF
类型:SKF轴承 > 滚动轴承 > 工程产品
描述:6205/HR11QN轴承是【SKF轴承 > 滚动轴承 > 工程产品】的型号,主要用在电气装置部件、燃汽轮机、纺织机械传动轴、后轮、轧钢机辊道子、石油钻机、船舶用螺旋桨轴、化纤机械、解体机、风力发电设备等各大领域

 电话/微信:138-8949-5179

SKF 6205/HR11QN轴承详细信息

6205/HR11QN轴承是【SKF轴承 > 滚动轴承 > 工程产品】的型号,主要用在电气装置部件、燃汽轮机、纺织机械传动轴、后轮、轧钢机辊道子、石油钻机、船舶用螺旋桨轴、化纤机械、解体机、风力发电设备等各大领域。

SKF 6205/HR11QN轴承详细参数

聚合物球轴承,单列球轴承, POM/POM/glass/PA66
主要数据尺寸负荷能力额定速度体积型号
dDB动态1)静态2)最大3)最大-
1) above 50 °C and/or above 20 %3) Consider load carrying
of max speed rating considercapability reduction according
2) above 50 °C consider
mmkNr/minkg-
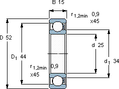
2552150,480,329500,0406205/HR11QN

SKF 6205/HR11QN轴承尺寸图纸

李工:138-8949-5179

刘工:135-0428-8802

地址:辽宁省大连经济技术开发区现代城3栋-13-13号

在线客服系统