轴承专区
Bearings Center
RMWE9A-RB-129x..-16轴承-INA RMWE9A-RB-129x..-16轴承尺寸、图纸、价格
INA RMWE9A-RB-129x..-16轴承
| 产品名称: | RMWE9A-RB-129x..-16轴承 | 品牌: | INA |
|---|---|---|---|
| 类型: | INA轴承 > 微型保持架引导系统 | ||
| 描述: | RMWE9A-RB-129x..-16轴承是【INA轴承 > 微型保持架引导系统】的型号,主要用在农业机械、小型汽车前轮、挖土机履带轮、差速器、木工机械、耕耘机、钢铁厂、电子、平地机、机场加油机等各大领域 | ||
电话/微信:138-8949-5179
INA RMWE9A-RB-129x..-16轴承详细信息
RMWE9A-RB-129x..-16轴承是【INA轴承 > 微型保持架引导系统】的型号,主要用在农业机械、小型汽车前轮、挖土机履带轮、差速器、木工机械、耕耘机、钢铁厂、电子、平地机、机场加油机等各大领域。
INA RMWE9A-RB-129x..-16轴承详细参数
| 参数 | 值 | 备注 |
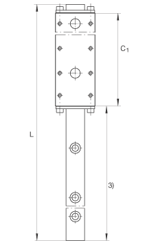
| C1 | 129 mm | |
| hx | 16 mm | 行程 |
| H | 10 mm | |
| 1) | 定位面 | |
| 2) | 标记 | |
| 3) | 行程 | |
| A | 20 mm | |
| A1 | 5,5 mm | |
| A2 | 15 mm | |
| a | 9 mm | 公差: -0,005 / -0,05 |
| a3 | 2,5 mm | |
| C1 max | 300 mm | 滑块的最大生产长度 |
| C2 | 10 mm | |
| C4 | 20 mm | |
| C5 | 9,5 mm | |
| C6 | 9,5 mm | |
| C7 | 4,5 mm | |
| C8 | 3,5 mm | |
| C9 | 20 mm | |
| H1 | 1,95 mm | |
| H5 | 3 mm | |
| h | 6,2 mm | |
| h1 | 2,6 mm | |
| K1 | M3 mm | 根据 DIN 912-12.9 的螺钉;最大锁紧力矩:2.2 Nm根据 DIN 912-12.9 的螺钉,耐腐蚀设计;最大锁紧力矩:1 Nm注意:不锈钢仍可进行表面防腐处理,以及不同形式的局部处理。如果耐腐蚀程度要求较高,则必须提供针对特殊应用的合适单元。 |
| K2 | M3 mm | 根据 DIN 912-12.9 的螺钉;最大锁紧力矩:2.2 Nm根据 DIN 912-12.9 的螺钉,耐腐蚀设计;最大锁紧力矩:1 Nm注意:不锈钢仍可进行表面防腐处理,以及不同形式的局部处理。如果耐腐蚀程度要求较高,则必须提供针对特殊应用的合适单元。 |
| L | 标准导轨长度:L = 59 mm,m S = 21 gL = 99 mm,m S = 36 gL = 159 mm,m S = 58 gL = 199 mm,m S = 72 gL = 219 mm,m S = 80 gL = 299 mm,m S = 108 g通过协商,也提供特殊长度。 | |
| Lk | 119,9 mm | 保持架的长度。通过协商,也提供特殊长度。 |
| Lmax | 360 mm | 导轨的最大生产长度。通过协商,也提供特殊长度。 |
| mW | 98 g | 滑块的质量 |
| mS | 导轨的质量:L = 59 mm,m S = 21 gL = 99 mm,m S = 36 gL = 159 mm,m S = 58 gL = 199 mm,m S = 72 gL = 219 mm,m S = 80 gL = 299 mm,m S = 108 g通过协商,也提供特殊长度。 | |
| C | 9200 N | 基本额定载荷 |
| C0 | 19900 N | 基本额定载荷 |
| M0x | 76 Nm | 额定扭矩 |
| M0y | 406 Nm | 额定扭矩 |
| M0z | 406 Nm | 额定扭矩 |
| 注意:不锈钢仍可进行表面防腐处理,以及不同形式的局部处理。如果耐腐蚀程度较高,必须提供针对特殊应用的合适单元。 |
INA RMWE9A-RB-129x..-16轴承尺寸图纸

