李工:138-8949-5179 刘工:135-0428-8802
型号查询
轴承型号   常见搜索: 1轴承 6005轴承 2025轴承 6016轴承 6022轴承 6009轴承
型号查询 X

轴承专区

Bearings Center

29428-E1轴承-FAG 29428-E1轴承尺寸、图纸、价格

FAG 29428-E1轴承

产品名称:29428-E1轴承 品牌:FAG
类型:FAG轴承 > 推力调心滚子轴承
描述: 29428-E1轴承是【FAG轴承 > 推力调心滚子轴承】的型号,主要用在装卸搬运机械、高频马达、压缩机、前轮、减速装置、机床主轴、矿山、纺织、挖掘机、伽玛等各大领域

 电话/微信:138-8949-5179

FAG 29428-E1轴承详细信息

29428-E1轴承是【FAG轴承 > 推力调心滚子轴承】的型号,主要用在装卸搬运机械、高频马达、压缩机、前轮、减速装置、机床主轴、矿山、纺织、挖掘机、伽玛等各大领域。

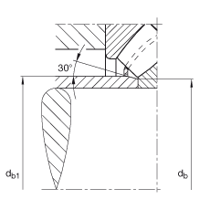
FAG 29428-E1轴承详细参数

参数备注
d140 mm
D280 mm
T85 mm
A86 mm
D1194,5 mm
Da max237 mm
Db min285 mm
d1251,1 mm
da min205 mm
db max154 mm
db1 max162 mm
ra max3 mm
rmin4 mm
T141 mm
T354 mm
T574,5 mm
m22,1 kg质量
Ca1710000 N基本额定动载荷,轴向
C0a4500000 N基本额定静载荷,轴向
nG1700 1/min极限转速
nB1300 1/min参考速度
Cua495000 N疲劳极限载荷,轴向

FAG 29428-E1轴承尺寸图纸

李工:138-8949-5179

刘工:135-0428-8802

地址:辽宁省大连经济技术开发区现代城3栋-13-13号

在线客服系统