李工:138-8949-5179 刘工:135-0428-8802
型号查询
轴承型号   常见搜索: 71913轴承 6018轴承 6015轴承 2025轴承 6012轴承 6022轴承
型号查询 X

轴承专区

Bearings Center

29336-E1轴承-FAG 29336-E1轴承尺寸、图纸、价格

FAG 29336-E1轴承

产品名称:29336-E1轴承 品牌:FAG
类型:FAG轴承 > 推力调心滚子轴承
描述: 29336-E1轴承是【FAG轴承 > 推力调心滚子轴承】的型号,主要用在装卸搬运机械、印刷机械、桥式起重机、轧钢机辊颈、印刷机械、制铁制钢机械、矿山、烟草机械、堆取料机、风力发电设备等各大领域

 电话/微信:138-8949-5179

FAG 29336-E1轴承详细信息

29336-E1轴承是【FAG轴承 > 推力调心滚子轴承】的型号,主要用在装卸搬运机械、印刷机械、桥式起重机、轧钢机辊颈、印刷机械、制铁制钢机械、矿山、烟草机械、堆取料机、风力发电设备等各大领域。

FAG 29336-E1轴承详细参数

参数备注
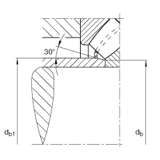
d180 mm
D300 mm
T73 mm
A103 mm
D1227 mm
Da max263 mm
Db min304 mm
d1274,5 mm
da min235 mm
db max190 mm
db1 max195 mm
ra max2,5 mm
rmin3 mm
T135,5 mm
T346 mm
T564,5 mm
m18,4 kg质量
Ca1460000 N基本额定动载荷,轴向
C0a4300000 N基本额定静载荷,轴向
nG1500 1/min极限转速
nB1170 1/min参考速度
Cua495000 N疲劳极限载荷,轴向

FAG 29336-E1轴承尺寸图纸

FAG轴承推荐

其他轴承推荐

李工:138-8949-5179

刘工:135-0428-8802

地址:辽宁省大连经济技术开发区现代城3栋-13-13号

在线客服系统