李工:138-8949-5179 刘工:135-0428-8802
型号查询
轴承型号   常见搜索: 6004轴承 6002轴承 6007轴承 6011轴承 6906轴承 2026轴承
型号查询 X

轴承专区

Bearings Center

RN-3x9.8 BF/G2轴承-SKF RN-3x9.8 BF/G2轴承尺寸、图纸、价格

SKF RN-3x9.8 BF/G2轴承

产品名称:RN-3x9.8 BF/G2轴承 品牌:SKF
类型:SKF轴承 > 滚动轴承 > 滚针轴承
描述:RN-3x9.8 BF/G2轴承是【SKF轴承 > 滚动轴承 > 滚针轴承】的型号,主要用在电气装置部件、机床主轴、发电机、汽车、振动筛、汽车转向销、船舶用螺旋桨轴、纺织、掘进机、摩天轮等各大领域

 电话/微信:138-8949-5179

SKF RN-3x9.8 BF/G2轴承详细信息

RN-3x9.8 BF/G2轴承是【SKF轴承 > 滚动轴承 > 滚针轴承】的型号,主要用在电气装置部件、机床主轴、发电机、汽车、振动筛、汽车转向销、船舶用螺旋桨轴、纺织、掘进机、摩天轮等各大领域。

SKF RN-3x9.8 BF/G2轴承详细参数

滚针轴承, 滚针
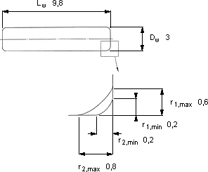
尺寸体积型号
DwLwr1,2r1r2每1000
最小最大最大
mmkg
39,80,20,60,80,54RN-3x9.8 BF/G2

SKF RN-3x9.8 BF/G2轴承尺寸图纸

李工:138-8949-5179

刘工:135-0428-8802

地址:辽宁省大连经济技术开发区现代城3栋-13-13号

在线客服系统