轴承专区
Bearings Center
RN-3.5x19.8 BF/G2轴承-SKF RN-3.5x19.8 BF/G2轴承尺寸、图纸、价格
SKF RN-3.5x19.8 BF/G2轴承
| 产品名称: | RN-3.5x19.8 BF/G2轴承 | 品牌: | SKF |
|---|---|---|---|
| 类型: | SKF轴承 > 滚动轴承 > 滚针轴承 | ||
| 描述: | RN-3.5x19.8 BF/G2轴承是【SKF轴承 > 滚动轴承 > 滚针轴承】的型号,主要用在后轮、机床主轴、中型及大型电动机、汽车、木工机械、耕耘机、水力发电机、薄膜拉伸、平地机、港口起重机等各大领域 | ||
电话/微信:138-8949-5179
SKF RN-3.5x19.8 BF/G2轴承详细信息
RN-3.5x19.8 BF/G2轴承是【SKF轴承 > 滚动轴承 > 滚针轴承】的型号,主要用在后轮、机床主轴、中型及大型电动机、汽车、木工机械、耕耘机、水力发电机、薄膜拉伸、平地机、港口起重机等各大领域。
SKF RN-3.5x19.8 BF/G2轴承详细参数
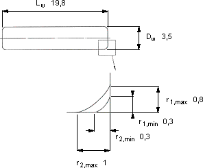
| 滚针轴承, 滚针 | |||||||
| 尺寸 | 体积 | 型号 | |||||
| Dw | Lw | r1,2 | r1 | r2 | 每1000 | ||
| 最小 | 最大 | 最大 | |||||
| mm | kg | ||||||
| 3,5 | 19,8 | 0,3 | 0,8 | 1 | 1,5 | RN-3.5x19.8 BF/G2 | |
SKF RN-3.5x19.8 BF/G2轴承尺寸图纸

