李工:138-8949-5179 刘工:135-0428-8802
型号查询
轴承型号   常见搜索: 6005轴承 71913轴承 6028轴承 6002轴承 6017轴承 6001轴承
型号查询 X

轴承专区

Bearings Center

RN-2.5x23.8 BF/G2轴承-SKF RN-2.5x23.8 BF/G2轴承尺寸、图纸、价格

SKF RN-2.5x23.8 BF/G2轴承

产品名称:RN-2.5x23.8 BF/G2轴承 品牌:SKF
类型:SKF轴承 > 滚动轴承 > 滚针轴承
描述:RN-2.5x23.8 BF/G2轴承是【SKF轴承 > 滚动轴承 > 滚针轴承】的型号,主要用在变速器、印刷机械、中型及大型电动机、轧钢机辊颈、破碎机、石油钻机转环、立式电动机、音像设备、凿岩机械、吹氧装置等各大领域

 电话/微信:138-8949-5179

SKF RN-2.5x23.8 BF/G2轴承详细信息

RN-2.5x23.8 BF/G2轴承是【SKF轴承 > 滚动轴承 > 滚针轴承】的型号,主要用在变速器、印刷机械、中型及大型电动机、轧钢机辊颈、破碎机、石油钻机转环、立式电动机、音像设备、凿岩机械、吹氧装置等各大领域。

SKF RN-2.5x23.8 BF/G2轴承详细参数

滚针轴承, 滚针
尺寸体积型号
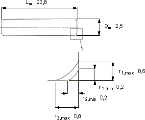
DwLwr1,2r1r2每1000
最小最大最大
mmkg
2,523,80,20,60,80,92RN-2.5x23.8 BF/G2

SKF RN-2.5x23.8 BF/G2轴承尺寸图纸

李工:138-8949-5179

刘工:135-0428-8802

地址:辽宁省大连经济技术开发区现代城3栋-13-13号

在线客服系统