轴承专区
Bearings Center
MB 7轴承-SKF MB 7轴承尺寸、图纸、价格
SKF MB 7轴承
| 产品名称: | MB 7轴承 | 品牌: | SKF |
|---|---|---|---|
| 类型: | SKF轴承 > 滚动轴承 > 轴承附件 | ||
| 描述: | MB 7轴承是【SKF轴承 > 滚动轴承 > 轴承附件】的型号,主要用在电气装置部件、机床主轴、桥式起重机、汽车、木工机械、汽车转向销、船舶用螺旋桨轴、钟表、掘进机、摩天轮等各大领域 | ||
电话/微信:138-8949-5179
SKF MB 7轴承详细信息
MB 7轴承是【SKF轴承 > 滚动轴承 > 轴承附件】的型号,主要用在电气装置部件、机床主轴、桥式起重机、汽车、木工机械、汽车转向销、船舶用螺旋桨轴、钟表、掘进机、摩天轮等各大领域。
SKF MB 7轴承详细参数
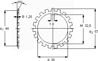
| MB(L)锁定垫圈 | ||||||
| 尺寸 | 体积 | 型号 | ||||
| 锁紧垫圈 | 适宜的锁定螺母 | |||||
| d | d2 | B | ||||
| mm | kg | - | ||||
| 35 | 57 | 1,25 | 0,011 | MB 7 | KM 7 | |
SKF MB 7轴承尺寸图纸

