李工:138-8949-5179 刘工:135-0428-8802
型号查询
轴承型号   常见搜索: 6022轴承 6021轴承 7014轴承 6003轴承 6008轴承 6900轴承
型号查询 X

轴承专区

Bearings Center

MB 36轴承-SKF MB 36轴承尺寸、图纸、价格

SKF MB 36轴承

产品名称:MB 36轴承 品牌:SKF
类型:SKF轴承 > 滚动轴承 > 轴承附件
描述:MB 36轴承是【SKF轴承 > 滚动轴承 > 轴承附件】的型号,主要用在后轮、油泵、木工机械、机床主轴、铁路车辆车轴、起重机吊钩、水力发电机、纺织、专用车、港口起重机等各大领域

 电话/微信:138-8949-5179

SKF MB 36轴承详细信息

MB 36轴承是【SKF轴承 > 滚动轴承 > 轴承附件】的型号,主要用在后轮、油泵、木工机械、机床主轴、铁路车辆车轴、起重机吊钩、水力发电机、纺织、专用车、港口起重机等各大领域。

SKF MB 36轴承详细参数

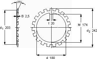
MB(L)锁定垫圈
尺寸体积型号
锁紧垫圈适宜的锁定螺母
dd2B
mmkg-
1802422,50,26MB 36KM 36

SKF MB 36轴承尺寸图纸

李工:138-8949-5179

刘工:135-0428-8802

地址:辽宁省大连经济技术开发区现代城3栋-13-13号

在线客服系统