轴承专区
Bearings Center
MB 34轴承-SKF MB 34轴承尺寸、图纸、价格
SKF MB 34轴承
| 产品名称: | MB 34轴承 | 品牌: | SKF |
|---|---|---|---|
| 类型: | SKF轴承 > 滚动轴承 > 轴承附件 | ||
| 描述: | MB 34轴承是【SKF轴承 > 滚动轴承 > 轴承附件】的型号,主要用在飞机喷气式发动机、小型汽车前轮、桥式起重机、差速器、造纸机械、耕耘机、燃机、电子、地基处理机械、厨具设备等各大领域 | ||
电话/微信:138-8949-5179
SKF MB 34轴承详细信息
MB 34轴承是【SKF轴承 > 滚动轴承 > 轴承附件】的型号,主要用在飞机喷气式发动机、小型汽车前轮、桥式起重机、差速器、造纸机械、耕耘机、燃机、电子、地基处理机械、厨具设备等各大领域。
SKF MB 34轴承详细参数
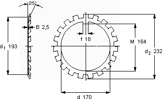
| MB(L)锁定垫圈 | ||||||
| 尺寸 | 体积 | 型号 | ||||
| 锁紧垫圈 | 适宜的锁定螺母 | |||||
| d | d2 | B | ||||
| mm | kg | - | ||||
| 170 | 232 | 2,5 | 0,24 | MB 34 | KM 34 | |
SKF MB 34轴承尺寸图纸

