李工:138-8949-5179 刘工:135-0428-8802
型号查询
轴承型号   常见搜索: 3214轴承 71913轴承 7014轴承 6900轴承 6909轴承 6028轴承
型号查询 X

轴承专区

Bearings Center

SAT45轴承-NTN SAT45轴承尺寸、图纸、价格

NTN SAT45轴承

产品名称:SAT45轴承 品牌:NTN
类型:NTN轴承 > 关节轴承 > 鱼眼轴承
描述:SAT45轴承是【NTN轴承 > 关节轴承 > 鱼眼轴承】的型号,主要用在通用电动机、高频马达、泵、前轮、印刷机械、机床主轴、轧钢机轧制螺杆用减速机、电子、混凝土机械、机场加油机等各大领域

 电话/微信:138-8949-5179

NTN SAT45轴承详细信息

SAT45轴承是【NTN轴承 > 关节轴承 > 鱼眼轴承】的型号,主要用在通用电动机、高频马达、泵、前轮、印刷机械、机床主轴、轧钢机轧制螺杆用减速机、电子、混凝土机械、机场加油机等各大领域。

NTN SAT45轴承详细参数

型号SAT45
产品SAT45
备注
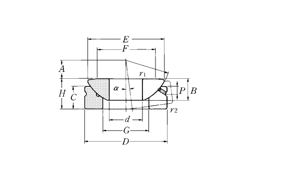
d45
D120
H36.5
B31
C25
r1s(min)0.6
r2s(min)1
E112
F89
G68
P11
A27.5
α
Cd475000
Cs2860000
kg2.50

NTN SAT45轴承尺寸图纸

李工:138-8949-5179

刘工:135-0428-8802

地址:辽宁省大连经济技术开发区现代城3栋-13-13号

在线客服系统