轴承专区
Bearings Center
UFA8815轴承-INA UFA8815轴承尺寸、图纸、价格
INA UFA8815轴承
| 产品名称: | UFA8815轴承 | 品牌: | INA |
|---|---|---|---|
| 类型: | INA轴承 > 导轨 | ||
| 描述: | UFA8815轴承是【INA轴承 > 导轨】的型号,主要用在建筑机械、差速器小齿轮轴、中型及大型电动机、小齿轮轴、各类产业用减速机、机床等的变速装置、成形机、塑料、工程船舶、焊接机器人等各大领域 | ||
电话/微信:138-8949-5179
INA UFA8815轴承详细信息
UFA8815轴承是【INA轴承 > 导轨】的型号,主要用在建筑机械、差速器小齿轮轴、中型及大型电动机、小齿轮轴、各类产业用减速机、机床等的变速装置、成形机、塑料、工程船舶、焊接机器人等各大领域。
INA UFA8815轴承详细参数
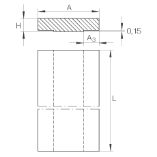
| 参数 | 值 | 备注 |
| A | 88 mm | 公差: -0,1 |
| H | 15 mm | 公差: -0,1 |
| L | 2000 mm | 最大L = 标准长度; 适用于从400mm逐渐递增到 L max的单根导轨。中间导轨的长度可可通过协商定制。长于 Lmax 的导轨可由多根标准导轨组合供货。多根导轨的孔的布置方式在越过联;接处仍然是有规律的。 |
| A3 | 18 mm |
INA UFA8815轴承尺寸图纸

