轴承专区
Bearings Center
UFA11518轴承-INA UFA11518轴承尺寸、图纸、价格
INA UFA11518轴承
| 产品名称: | UFA11518轴承 | 品牌: | INA |
|---|---|---|---|
| 类型: | INA轴承 > 导轨 | ||
| 描述: | UFA11518轴承是【INA轴承 > 导轨】的型号,主要用在通用电动机、高频马达、桥式起重机、前轮、破碎机、机床主轴、轧钢机轧制螺杆用减速机、医药设备、混凝土机械、机场加油机等各大领域 | ||
电话/微信:138-8949-5179
INA UFA11518轴承详细信息
UFA11518轴承是【INA轴承 > 导轨】的型号,主要用在通用电动机、高频马达、桥式起重机、前轮、破碎机、机床主轴、轧钢机轧制螺杆用减速机、医药设备、混凝土机械、机场加油机等各大领域。
INA UFA11518轴承详细参数
| 参数 | 值 | 备注 |
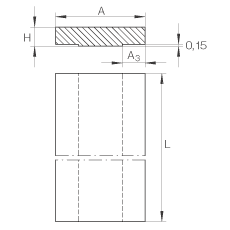
| A | 115 mm | 公差: -0,1 |
| H | 18 mm | 公差: -0,1 |
| L | 2960 mm | 最大L = 标准长度; 适用于从400mm逐渐递增到 L max的单根导轨。中间导轨的长度可可通过协商定制。长于 Lmax 的导轨可由多根标准导轨组合供货。多根导轨的孔的布置方式在越过联;接处仍然是有规律的。 |
INA UFA11518轴承尺寸图纸

