李工:138-8949-5179 刘工:135-0428-8802
型号查询
轴承型号   常见搜索: 6026轴承 6214轴承 6003轴承 688a轴承 6012轴承 6007轴承
型号查询 X

轴承专区

Bearings Center

RMWE7-RB-63x..-2轴承-INA RMWE7-RB-63x..-2轴承尺寸、图纸、价格

INA RMWE7-RB-63x..-2轴承

产品名称:RMWE7-RB-63x..-2轴承 品牌:INA
类型:INA轴承 > 微型保持架引导系统
描述: RMWE7-RB-63x..-2轴承是【INA轴承 > 微型保持架引导系统】的型号,主要用在飞机喷气式发动机、小型汽车前轮、提升机、差速器、振动筛、汽车转向销、燃机、烟草机械、掘进机、厨具设备等各大领域

 电话/微信:138-8949-5179

INA RMWE7-RB-63x..-2轴承详细信息

RMWE7-RB-63x..-2轴承是【INA轴承 > 微型保持架引导系统】的型号,主要用在飞机喷气式发动机、小型汽车前轮、提升机、差速器、振动筛、汽车转向销、燃机、烟草机械、掘进机、厨具设备等各大领域。

INA RMWE7-RB-63x..-2轴承详细参数

参数备注
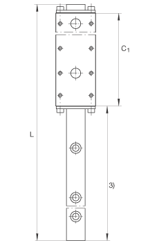
C163 mm
hx2 mm行程
H8 mm
1)定位面
2)标记
3)行程
A17 mm
A15 mm
A212 mm
a7 mm公差: -0,005 / -0,05
a32,5 mm
C1 max200 mm滑块的最大生产长度
C28 mm
C415 mm
C57 mm
C67 mm
C73,5 mm
C83 mm
C916 mm
H11,5 mm
H52,5 mm
h4,9 mm
h11,7 mm
K1M2 mm根据 DIN 912-12.9 的螺钉;最大锁紧力矩:0.6 Nm根据 DIN 912-12.9 的螺钉,耐腐蚀设计;最大锁紧力矩:0.2 Nm注意:不锈钢仍可进行表面防腐处理,以及不同形式的局部处理。如果耐腐蚀程度要求较高,则必须提供针对特殊应用的合适单元。
K2M2 mm根据 DIN 912-12.9 的螺钉;最大锁紧力矩:0.6 Nm根据 DIN 912-12.9 的螺钉,耐腐蚀设计;最大锁紧力矩:0.2 Nm注意:不锈钢仍可进行表面防腐处理,以及不同形式的局部处理。如果耐腐蚀程度要求较高,则必须提供针对特殊应用的合适单元。
L标准导轨长度:L = 44 mm,m S = 9 gL = 89 mm,m S = 19 gL = 104 mm,m S = 23 gL = 119 mm,m S = 26 gL = 134 mm,m S = 30 gL = 164 mm,m S = 35 gL = 209 mm,m S = 44 g通过协商,也提供特殊长度。
Lk60,9 mm保持架的长度。通过协商,也提供特殊长度。
Lmax250 mm导轨的最大生产长度。通过协商,也提供特殊长度。
mW33 g滑块的质量
mS导轨的质量:L = 44 mm,m S = 9 gL = 89 mm,m S = 19 gL = 104 mm,m S = 23 gL = 119 mm,m S = 26 gL = 134 mm,m S = 30 gL = 164 mm,m S = 35 gL = 209 mm,m S = 44 g通过协商,也提供特殊长度。
C3300 N基本额定载荷
C06200 N基本额定载荷
M0x20 Nm额定扭矩
M0y67 Nm额定扭矩
M0z67 Nm额定扭矩
注意:不锈钢仍可进行表面防腐处理,以及不同形式的局部处理。如果耐腐蚀程度较高,必须提供针对特殊应用的合适单元。

INA RMWE7-RB-63x..-2轴承尺寸图纸

李工:138-8949-5179

刘工:135-0428-8802

地址:辽宁省大连经济技术开发区现代城3栋-13-13号

在线客服系统