李工:138-8949-5179 刘工:135-0428-8802
型号查询
轴承型号   常见搜索: 6026轴承 22222轴承 6010轴承 6005轴承 6032轴承 6214轴承
型号查询 X

轴承专区

Bearings Center

RMWE12-RB-149x..-132轴承-INA RMWE12-RB-149x..-132轴承尺寸、图纸、价格

INA RMWE12-RB-149x..-132轴承

产品名称:RMWE12-RB-149x..-132轴承 品牌:INA
类型:INA轴承 > 微型保持架引导系统
描述: RMWE12-RB-149x..-132轴承是【INA轴承 > 微型保持架引导系统】的型号,主要用在家用电器、空气压缩机、挖土机履带轮、大型农业机械、轧钢机辊道子、耕耘机、塔吊、玩具、地基处理机械、雷达等各大领域

 电话/微信:138-8949-5179

INA RMWE12-RB-149x..-132轴承详细信息

RMWE12-RB-149x..-132轴承是【INA轴承 > 微型保持架引导系统】的型号,主要用在家用电器、空气压缩机、挖土机履带轮、大型农业机械、轧钢机辊道子、耕耘机、塔吊、玩具、地基处理机械、雷达等各大领域。

INA RMWE12-RB-149x..-132轴承详细参数

参数备注
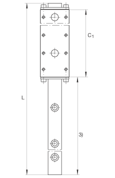
C1149 mm
hx132 mm行程
H13 mm
1)定位面
2)标记
3)行程
A27 mm
A17,5 mm
A220 mm
a12 mm公差: -0,005 / -0,05
a33,5 mm
C1 max200 mm滑块的最大生产长度
C215 mm
C425 mm
C512 mm
C612 mm
C77 mm
C85 mm
C930 mm
H12,85 mm
H53,5 mm
h9 mm
h12,8 mm
K1M4 mm根据 DIN 912-12.9的螺钉:最大锁紧力矩:5 Nm根据 DIN 912-12.9的螺钉,耐腐蚀设计;最大锁紧力矩:1.7 Nm注意:不锈钢仍可进行表面防腐处理,以及不同形式的局部处理。如果耐腐蚀程度要求较高,则必须提供针对特殊应用的合适单元。为与标准单元互换,应使用支撑垫圈和相对较小的螺钉
K2M3 mm根据 DIN 912-12.9 的螺钉;最大锁紧力矩:2.2 Nm根据 DIN 912-12.9 的螺钉,耐腐蚀设计;最大锁紧力矩:1 Nm注意:不锈钢仍可进行表面防腐处理,以及不同形式的局部处理。如果耐腐蚀程度要求较高,则必须提供针对特殊应用的合适单元。
L标准导轨长度:L = 49 mm,m S = 30 gL = 99 mm,m S = 64 gL = 124 mm,m S = 82 gL = 149 mm,m S = 98 gL = 174 mm,m S = 114 gL = 224 mm,m S = 148 gL = 324 mm,m S = 215 g如有需求,也提供特殊设计。
Lk81,9 mm保持架的长度。通过协商,也提供特殊长度。
Lmax360 mm导轨的最大生产长度。通过协商,也提供特殊长度。
mW190 g滑块的质量
mS导轨的质量:L = 49 mm,m S = 30 gL = 99 mm,m S = 64 gL = 124 mm,m S = 82 gL = 149 mm,m S = 98 gL = 174 mm,m S = 114 gL = 224 mm,m S = 148 gL = 324 mm,m S = 215 g通过协商,也提供特殊长度。
C7200 N基本额定载荷
C016900 N基本额定载荷
M0x112 Nm额定扭矩
M0y214 Nm额定扭矩
M0z214 Nm额定扭矩
注意:不锈钢仍可进行表面防腐处理,以及不同形式的局部处理。如果耐腐蚀程度较高,必须提供针对特殊应用的合适单元。
圆柱滚子 O 型布置为标准通过协商,X 型布置是可用的

INA RMWE12-RB-149x..-132轴承尺寸图纸

李工:138-8949-5179

刘工:135-0428-8802

地址:辽宁省大连经济技术开发区现代城3栋-13-13号

在线客服系统