轴承专区
Bearings Center
ML7035轴承-INA ML7035轴承尺寸、图纸、价格
INA ML7035轴承
| 产品名称: | ML7035轴承 | 品牌: | INA |
|---|---|---|---|
| 类型: | INA轴承 > 平板保持架引导系统 | ||
| 描述: | ML7035轴承是【INA轴承 > 平板保持架引导系统】的型号,主要用在农业机械、燃料喷射泵、燃汽轮机、齿轮减速装置、振动筛、起重机吊钩、钢铁厂、陶瓷机械、专用车、机场加油机等各大领域 | ||
电话/微信:138-8949-5179
INA ML7035轴承详细信息
ML7035轴承是【INA轴承 > 平板保持架引导系统】的型号,主要用在农业机械、燃料喷射泵、燃汽轮机、齿轮减速装置、振动筛、起重机吊钩、钢铁厂、陶瓷机械、专用车、机场加油机等各大领域。
INA ML7035轴承详细参数
| 参数 | 值 | 备注 |
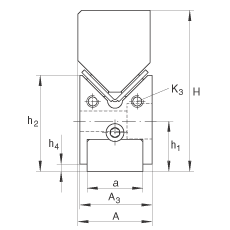
| h2 | 45 mm | 楔形块的高度取决于楔形块的长度,它决定了不同类型的导轨截面高度 H 和 h2 。H 的调整范围:-0.5到+0.3 mm |
| A3 | 35 mm | 公差: -0,2 |
| Lmax | 500 mm | 端部尺寸 C5 和 C6 取决于导轨长度:C5 和 C6 =L - total C4; L - total C4 >= 2 x C6 min C5 = C6值不能小于 C5 和 C6 的最小值 |
| 4) | 标记 | |
| 41) | 孔的类型15 R | |
| 42) | 孔的类型 15 L | |
| 43) | 孔的类型03 R | |
| 44) | 孔的类型 03 L | |
| A | 35 mm | 公差: -0,1 |
| a | 25 mm | |
| a1 | 26 mm | |
| C4 | 100 mm | 对长度 L < C4 + 2 x C5 minC4 = 50 mm |
| C5 min | 32 mm | C5总是位于可调夹条一侧 |
| C6 min | 20 mm | |
| H | 70 mm | 楔形块的高度取决于楔形块的长度,它决定了不同类型的导轨截面高度 H 和 h2 。H 的调整范围:-0.5到+0.3 mm |
| h1 | 21 mm | |
| h4 | 3 mm | |
| h5 | 15,5 mm | |
| K1 | M8 | 根据 DIN 912- 8.8的螺栓 |
| K3 | M6 | |
| tmin | 20 mm |
INA ML7035轴承尺寸图纸

