轴承专区
Bearings Center
HCB7004-E-T-P4S轴承-FAG HCB7004-E-T-P4S轴承尺寸、图纸、价格
FAG HCB7004-E-T-P4S轴承
| 产品名称: | HCB7004-E-T-P4S轴承 | 品牌: | FAG |
|---|---|---|---|
| 类型: | FAG轴承 > 主轴轴承 | ||
| 描述: | HCB7004-E-T-P4S轴承是【FAG轴承 > 主轴轴承】的型号,主要用在铁路车辆、机床主轴、减速装置、汽车、木工机械、耕耘机、冶炼厂、破碎、平地机、机械手等各大领域 | ||
电话/微信:138-8949-5179
FAG HCB7004-E-T-P4S轴承详细信息
HCB7004-E-T-P4S轴承是【FAG轴承 > 主轴轴承】的型号,主要用在铁路车辆、机床主轴、减速装置、汽车、木工机械、耕耘机、冶炼厂、破碎、平地机、机械手等各大领域。
FAG HCB7004-E-T-P4S轴承详细参数
| 参数 | 值 | 备注 |
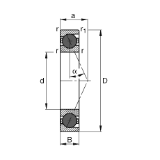
| d | 20 mm | |
| D | 42 mm | |
| B | 12 mm | |
| a | 13 mm | |
| Da H12 | 37 mm | |
| da h12 | 25 mm | |
| r1 min | 0,6 mm | |
| ra max | 0,6 mm | |
| ra1 max | 0,3 mm | |
| rmin | 0,6 mm | |
| m | 0,06 kg | 质量 |
| Cr | 9800 N | 基本额定动载荷,径向 |
| C0r | 4000 N | 基本额定静载荷,径向 |
| nG Fett | 38000 1/min | 脂润滑时的极限转速 |
| nG Öl | 56000 1/min | 最少油润滑时的极限转速 |
| Cur | 295 N | 疲劳极限载荷,径向 |
FAG HCB7004-E-T-P4S轴承尺寸图纸

