李工:138-8949-5179 刘工:135-0428-8802
型号查询
轴承型号   常见搜索: 6032轴承 6304轴承 *轴承 6011轴承 6012轴承 6015轴承
型号查询 X

轴承专区

Bearings Center

7603025-TVP轴承-FAG 7603025-TVP轴承尺寸、图纸、价格

FAG 7603025-TVP轴承

产品名称:7603025-TVP轴承 品牌:FAG
类型:FAG轴承 > 推力角接触球轴承
描述: 7603025-TVP轴承是【FAG轴承 > 推力角接触球轴承】的型号,主要用在各种产业机械、印刷机械、压缩机、轧钢机辊颈、印刷机械、制铁制钢机械、发电厂、薄膜拉伸、起重机械、雷达等各大领域

 电话/微信:138-8949-5179

FAG 7603025-TVP轴承详细信息

7603025-TVP轴承是【FAG轴承 > 推力角接触球轴承】的型号,主要用在各种产业机械、印刷机械、压缩机、轧钢机辊颈、印刷机械、制铁制钢机械、发电厂、薄膜拉伸、起重机械、雷达等各大领域。

FAG 7603025-TVP轴承详细参数

参数备注
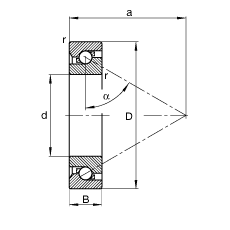
d25 mm
D62 mm
B17 mm
a48 mm
Da H1252 mm
da h1238 mm
ra max1 mm
rmin1,1 mm
m0,275 kg质量
Ca29500 N基本额定动载荷,轴向
C0a68000 N基本额定静载荷,轴向
Fa max18000 N最大轴向力,动态
nG Fett3800 1/min脂润滑时的极限转速
nG Öl5000 1/min最少油润滑时的极限转速
Fv3300 N预载
Mr85 Nmm摩擦力矩
Cua6100 N疲劳极限载荷,轴向

FAG 7603025-TVP轴承尺寸图纸

李工:138-8949-5179

刘工:135-0428-8802

地址:辽宁省大连经济技术开发区现代城3栋-13-13号

在线客服系统