李工:138-8949-5179 刘工:135-0428-8802
型号查询
轴承型号   常见搜索: 6032轴承 6304轴承 6004轴承 6015轴承 22222轴承 6018轴承
型号查询 X

轴承专区

Bearings Center

29426-E1轴承-FAG 29426-E1轴承尺寸、图纸、价格

FAG 29426-E1轴承

产品名称:29426-E1轴承 品牌:FAG
类型:FAG轴承 > 推力调心滚子轴承
描述: 29426-E1轴承是【FAG轴承 > 推力调心滚子轴承】的型号,主要用在铁路车辆、机床主轴、桥式起重机、汽车、造纸机械、汽车转向销、冶炼厂、音像设备、土方机械、机械手等各大领域

 电话/微信:138-8949-5179

FAG 29426-E1轴承详细信息

29426-E1轴承是【FAG轴承 > 推力调心滚子轴承】的型号,主要用在铁路车辆、机床主轴、桥式起重机、汽车、造纸机械、汽车转向销、冶炼厂、音像设备、土方机械、机械手等各大领域。

FAG 29426-E1轴承详细参数

参数备注
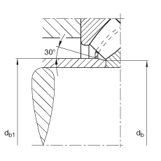
d130 mm
D270 mm
T85 mm
A81 mm
D1184,5 mm
Da max227 mm
Db min275 mm
d1240 mm
da min195 mm
db max143 mm
db1 max153 mm
ra max3 mm
rmin4 mm
T140,9 mm
T354 mm
T575 mm
m21 kg质量
Ca1700000 N基本额定动载荷,轴向
C0a4350000 N基本额定静载荷,轴向
nG1700 1/min极限转速
nB1360 1/min参考速度
Cua450000 N疲劳极限载荷,轴向

FAG 29426-E1轴承尺寸图纸

李工:138-8949-5179

刘工:135-0428-8802

地址:辽宁省大连经济技术开发区现代城3栋-13-13号

在线客服系统