轴承专区
Bearings Center
29338-E1轴承-FAG 29338-E1轴承尺寸、图纸、价格
FAG 29338-E1轴承
| 产品名称: | 29338-E1轴承 | 品牌: | FAG |
|---|---|---|---|
| 类型: | FAG轴承 > 推力调心滚子轴承 | ||
| 描述: | 29338-E1轴承是【FAG轴承 > 推力调心滚子轴承】的型号,主要用在农业机械、机床主轴、压缩机、汽车、木工机械、耕耘机、钢铁厂、啤酒、平地机、太阳能发电设备等各大领域 | ||
电话/微信:138-8949-5179
FAG 29338-E1轴承详细信息
29338-E1轴承是【FAG轴承 > 推力调心滚子轴承】的型号,主要用在农业机械、机床主轴、压缩机、汽车、木工机械、耕耘机、钢铁厂、啤酒、平地机、太阳能发电设备等各大领域。
FAG 29338-E1轴承详细参数
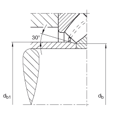
| 参数 | 值 | 备注 |
| d | 190 mm | |
| D | 320 mm | |
| T | 78 mm | |
| A | 110 mm | |
| D1 | 243,5 mm | |
| Da max | 281 mm | |
| Db min | 325 mm | |
| d1 | 290,1 mm | |
| da min | 250 mm | |
| db max | 201 mm | |
| db1 max | 211 mm | |
| ra max | 3 mm | |
| rmin | 4 mm | |
| T1 | 36 mm | |
| T3 | 49 mm | |
| T5 | 70 mm | |
| m | 22,3 kg | 质量 |
| Ca | 1680000 N | 基本额定动载荷,轴向 |
| C0a | 4850000 N | 基本额定静载荷,轴向 |
| nG | 1500 1/min | 极限转速 |
| nB | 1090 1/min | 参考速度 |
| Cua | 580000 N | 疲劳极限载荷,轴向 |
FAG 29338-E1轴承尺寸图纸

