轴承专区
Bearings Center
29330-E1轴承-FAG 29330-E1轴承尺寸、图纸、价格
FAG 29330-E1轴承
| 产品名称: | 29330-E1轴承 | 品牌: | FAG |
|---|---|---|---|
| 类型: | FAG轴承 > 推力调心滚子轴承 | ||
| 描述: | 29330-E1轴承是【FAG轴承 > 推力调心滚子轴承】的型号,主要用在内燃机、空气压缩机、泵、大型农业机械、轧钢机辊道子、汽车转向销、挤压机、纺织、土方机械、数控设备等各大领域 | ||
电话/微信:138-8949-5179
FAG 29330-E1轴承详细信息
29330-E1轴承是【FAG轴承 > 推力调心滚子轴承】的型号,主要用在内燃机、空气压缩机、泵、大型农业机械、轧钢机辊道子、汽车转向销、挤压机、纺织、土方机械、数控设备等各大领域。
FAG 29330-E1轴承详细参数
| 参数 | 值 | 备注 |
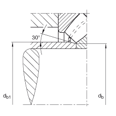
| d | 150 mm | |
| D | 250 mm | |
| T | 60 mm | |
| A | 87 mm | |
| D1 | 190 mm | |
| Da max | 220 mm | |
| Db min | 254 mm | |
| d1 | 228,4 mm | |
| da min | 195 mm | |
| db max | 159 mm | |
| db1 max | 163 mm | |
| ra max | 2 mm | |
| rmin | 2,1 mm | |
| T1 | 28 mm | |
| T3 | 38 mm | |
| T5 | 54,5 mm | |
| m | 10,5 kg | 质量 |
| Ca | 1020000 N | 基本额定动载荷,轴向 |
| C0a | 2900000 N | 基本额定静载荷,轴向 |
| nG | 2000 1/min | 极限转速 |
| nB | 1410 1/min | 参考速度 |
| Cua | 360000 N | 疲劳极限载荷,轴向 |
FAG 29330-E1轴承尺寸图纸

