李工:138-8949-5179 刘工:135-0428-8802
型号查询
轴承型号   常见搜索: 6016轴承 6909轴承 6008轴承 6026轴承 22222轴承 6028轴承
型号查询 X

轴承专区

Bearings Center

29328-E1轴承-FAG 29328-E1轴承尺寸、图纸、价格

FAG 29328-E1轴承

产品名称:29328-E1轴承 品牌:FAG
类型:FAG轴承 > 推力调心滚子轴承
描述: 29328-E1轴承是【FAG轴承 > 推力调心滚子轴承】的型号,主要用在仪表、罗茨鼓风机、变速器、建筑机械、轧钢机齿轮箱座、石油钻机转环、碾煤机、音像设备、轻工机械、厨具设备等各大领域

 电话/微信:138-8949-5179

FAG 29328-E1轴承详细信息

29328-E1轴承是【FAG轴承 > 推力调心滚子轴承】的型号,主要用在仪表、罗茨鼓风机、变速器、建筑机械、轧钢机齿轮箱座、石油钻机转环、碾煤机、音像设备、轻工机械、厨具设备等各大领域。

FAG 29328-E1轴承详细参数

参数备注
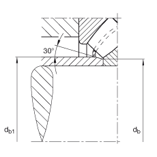
d140 mm
D240 mm
T60 mm
A82 mm
D1177 mm
Da max208 mm
Db min244 mm
d1220,6 mm
da min190 mm
db max149 mm
db1 max154 mm
ra max2 mm
rmin2,1 mm
T130 mm
T338,5 mm
T553,5 mm
m10,3 kg质量
Ca1010000 N基本额定动载荷,轴向
C0a2900000 N基本额定静载荷,轴向
nG2000 1/min极限转速
nB1500 1/min参考速度
Cua340000 N疲劳极限载荷,轴向

FAG 29328-E1轴承尺寸图纸

李工:138-8949-5179

刘工:135-0428-8802

地址:辽宁省大连经济技术开发区现代城3栋-13-13号

在线客服系统